

シルバー(大和電機) ST-100KJ LED看板灯ホルダー 10W用 1灯用 (片側給電専用) S型 G13口金 端子台付
シルバー(大和電機) ST-100K LED看板灯ホルダー 10W用 1灯用 (片側両側給電対応) S型 G13口金 端子台なし
ミツヤ電器製作所(ノーベル) S-WH-P プラグコード付LED蛍光灯用フリーソケット電源コード G13口金 100V 片側給電用 白
カメダデンキ KRS-1CS-WH 片側給電専用 G13口金 直管LED用レールソケット1組(給電側1個+受け側1個)1灯用 白
プリンス(PRINCE) HCL32AV スリム蛍光灯用(スリムランプ) ホルダー
アイリスオーヤマ LDRB-4F 直管蛍光灯ランプホルダー 落下防止用 3組入り
LEE FILTER(リーフィルター) カラーフィルター 40W形 直管蛍光灯サイズ用(1220mm×110mm) #106 PRIMARY RED (レッド) ケース売り
ミツヤ電器製作所(ノーベル) LED-S10 LED蛍光灯用器具 プラグコード付 10W型 片側給電用
5000K
3000K
【特長】
器具対応
【工事配線図】
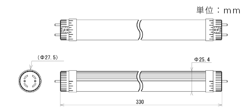
【寸法図】
【おすすめ商品】
G13ソケットの片側給電用プラグ付コードです。
⇒ ミツヤ電器 プラグコード付コード G13口金 100V LEDランプ 片側給電用
【仕様】
(色温度)
電力
電圧
角度
寿命
(5000K)
(回転式)
(3000K)
(回転式)
(ピンは含まない)
口金部:φ27.6mm
【注意事項】
あとはコンセントにプラグを差すだけです。もっとも簡単に点灯させる方法です。
プラグコード付フリーソケット電源コード G13口金
以下の商品を組合わせることで簡単に電源を取ることができます。
28mm用
ライティングコネクター
コードプラグ
KRS-1A-WH
片側給電専用 直管LED用レールソケット1組 1灯用 G13口金
カラーフィルター 40W形
直管蛍光灯用
1220mm×110mm